GAI – Guincho de Alavanca
Descrição do produto
Os guinchos alavanca, oferecem facilidade de manobra com muita segurança. O equipamento é indicado para trabalhos que necessitam da redução do peso da carga a ser movimentada.
Os guinchos de alavanca padrão utilizam cabos de aço com a construção 6×25+AACI Filler, galvanizados e possui comprimento padrão de 20 metros de cabo.
Para a fixação do cabo de aço na carga, em uma das extremidades é produzido um laço com sapatilha e gancho, onde é prensada uma luva, proporcionando garantia da estabilidade do equipamento.
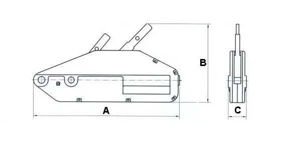
Dimensões
| Código de Referência | Carga Máxima de Trabalho (Ton) | Dimensões (mm) | Diâmetro do cabo (mm) | Peso (kg) | ||
|---|---|---|---|---|---|---|
| A | B | C | ||||
| GAI - 0,8 | 0,8 | 426 | 238 | 64 | 8,3 | 6,4 |
| GAI - 1,6 | 1,6 | 545 | 284 | 97 | 11,0 | 12,0 |
| GAI - 3,2 | 3,2 | 660 | 325 | 116 | 16,0 | 23,0 |
| GAI - 5,4 | 5,4 | 930 | 390 | 150 | 20,0 | 58,0 |