Ligue agora: (31) 2519-5400

BBSTI-HLD – Balancim para Big Bag sem Trava – HLD

Descrição do produto

O Balancim para Big Bag com Trava permite o içamento e transporte de Big Bag de forma segura e possui trava de segurança.

Utilização: Içamento e transporte de Big Bag em gruas, monovias, ponte-rolante e empilhadeiras.

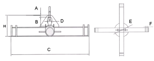
Dimensões

Código de ReferênciaCarga Máxima de Trabalho (Ton)Dimensão do perfil do material (mm)Dimensões (mm)Peso (Kg)
ABCDEFH
BBSTI - HLD - 1,01,09530901070602507023051,5
BBSTI - HLD - 1,51,510224044,5
BBSTI - HLD - 2,02,010828063,8